Products Description
The Pressure Bleeding Tester for Prestressing Grout is designed to accurately measure the pressure-induced bleeding rate of grouting materials used in prestressed concrete ducts. Equipped with a precise loading system, it delivers reliable, high-accuracy results for laboratory and on-site testing of grouting materials.
Pressure Bleeding Tester for Prestressing Grout
Model:TDYJM-2
I.Product Introduction
The new standard pressure bleeding tester for prestressed duct grouting materials conforms to JT/T946-2022,"Testing of Prestressed Duct Grouting Materials for Highway Engineering".
Reference Standards:EN 445,EN 447,ASTM C940/C940M
II.Technical Parameters
1.Test Cylinder Volume:250ml
2.Test Cylinder Inner Diameter:40mm
3.Drainage Tube Outer Diameter:20mm
4.Bleeding Pipe Length:approx.240 mm
5.Filter Screen:325 mesh
6.Pressure Gauge:0–1 MPa
III.Test Procedure
1.Insert the drainage tube with the filter screen installed into the sealing seat hole,and then tighten the steel cylinder to the sealing seat.
2.Pour 200mL of well-mixed grouting material into the fully assembled filter press container at the bottom,and record its volume V0,accurate to 0.2ml.
3.Install and tighten the upper sealing cap,place it vertically on the bracket,let it stand for 10 minutes,connect the upper end to compressed air,open the compressed air valve,and quickly pressurize to the test pressure.
4.After maintaining the test pressure for 5 minutes,close the compressed air valve to release the pressure,and slightly tilt the funnel to allow all the water in the lower part of the funnel to flow out.Record the volume of the water V1,accurate to 0.1 mL.
Calculation and Value Selection of Test Results:Calculation of Pressure-Induced Water Bleeding Rate
The pressure bleeding rate is calculated according to formula(D.1):
Myl=V1/v0x100%
(D.1)
Where:
Myl—Pressure bleeding rate;
V1—Volume of bleeding water collected in the collection container,in milliliters(mL);
V0—Volume of grout material before testing,in milliliters(mL).
Test Result Evaluation
The test result shall be taken as the arithmetic mean of two consecutive test measurements,recorded with an accuracy of 0.1%,and used as the pressure bleeding rate of the grouting material.

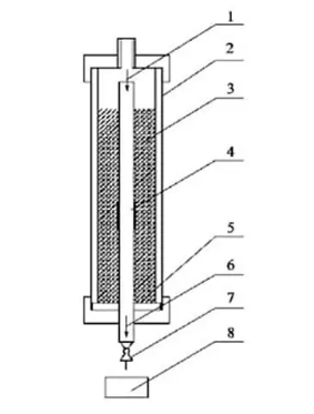
Legend/Component Description:
1.Compressed Air Inlet
2.Pressure Filtration Cylinder
3.Grout
4.Bleeding Pipe(covered with 3 layers of 325-mesh filter)
5.Rubber Seal Ring
6.Bleeding Water
7.Ball Mesh
8.Collection Container
